
Conectamos al Mundo con Pasión
Suscríbete a nuestro boletín:
Teléfono
Teléfono: +52 55 9221-8463
E-mail: info@redder.com.mx
MICRODUCTO PARA ENTIERRO DIRECTO

DATOS TÉCNICOS:
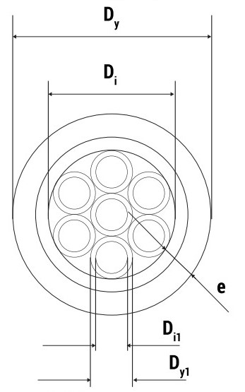
| MICRODUCTO PRIMARIO PREFABRICADO MT-DB | ||||||
|---|---|---|---|---|---|---|
| TIPO | DY[mm] | Di[mm] | DY1[mm] | Di1[mm] | e [mm] | Microducto Central |
| MT-DB-0507 | 22.2 | 15.0 | 5.0 | 3.5 | 3.6±0.4 | - |
| MT-DB-0512 | 28.0 | 20.8 | 5.0 | 3.8 | 3.6±0.4 | - |
| MT-DB-0518 | 43.0 | 35.0 | 5.0 | 3.8 | 4.0±0.4 | sí (3x10/8. 0mm) |
| MT-DB-0519 | 33.4 | 25.0 | 5.0 | 3.8 | 4.2±0.4 | - |
| MT-DB-0524 | 38.4 | 30.0 | 5.0 | 3.5 | 4.2±0.4 | sí (1x10/8 mm) |
| MT-DB-0703 | 20.5 | 13.1 | 7.0 | 5.5 | 3.7±0.4 | - |
| MT-DB-0707 | 28.0 | 21.0 | 7.0 | 5.5 | 3.5±0.4 | - |
| MT-DB-1003 | 27.4 | 21.6 | 10.0 | 8.0 | 2.9±0.4 | - |
| MT-DB-1005 | 34.8 | 27.0 | 10.0 | 8.0 | 3.9±0.4 | sí (1x7/5.5 mm) |
| MT-DB-1007 | 38.4 | 30.0 | 10.0 | 8.0 | 4.2±0.4 | - |
| MT-DB-1207 | 44.4 | 36.0 | 12.0 | 10.0 | 4.2±0.4 | - |

Conectamos al Mundo con Pasión
Suscríbete a nuestro boletín:
Teléfono: +52 55 9221-8463